台州城乡居民养老保险转移指南
网上办理入口:浙江政务服务网
申请条件:
台州市参加城乡居民基本养老保险的参保人员。
申报材料:
1、《城乡居民基本养老保险关系转入接收函》(点击下载示例样表)
2、身份证件或社保卡原件
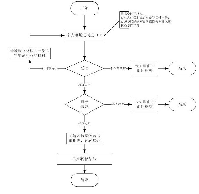
办理流程:
1、收件:申请人向窗口提交申请材料或在浙江政务服务网进行网上申报工作人员收下材料或者获取政务服务网申报数据。
2、受理:符合条件的予以录入受理。
3、审核:符合条件的做出审核决定。
4、办结:对材料进行归档处理。
5、送达:根据告知渠道对审核决定内容进行告知或送达。
第八条 转移接续与制度衔接 参加城乡居民养老保险的人员,在缴费期间户籍迁移、需要跨地区转移城乡居民养老保险关系的,可在迁入地申请转移养老保险关系,一次性转移个人账户全部储存额,并按迁入地规定继续参保缴费,缴费年限累计计算;已经按规定领取城乡居民养老保险待遇的,无论户籍是否迁移,其养老保险关系不转移。 城乡居民养老保险制度与职工基本养老保险、优抚安置、城乡居民最低生活保障、农村五保供养等社会保障制度以及农村部分计划生育家庭奖励扶助制度的衔接,按有关规定执行。
2、浙江省人民政府关于进一步完善城乡居民基本养老保险制度的意见
第六条 转移接续与制度衔接
(一)转移接续。城乡居民基本养老保险的参保人,在参保缴费期间因户籍迁移需要跨统筹地区转移养老保险关系的,可在迁入地申请转移养老保险关系,一次性转移个人账户全部储存额,并按迁入地规定继续参保缴费,缴费年限累计计算;已按规定领取养老待遇的,无论户籍是否迁移,其养老保险关系不转移。
(二)与职工基本养老保险制度的衔接。城乡居民基本养老保险与职工基本养老保险的衔接按国家和省相关规定执行。
(三)与原农村社会养老保险制度的衔接。我省城乡居民社会养老保险制度实施时,凡已参加了原农村社会养老保险(以下简称老农保)、年满60周岁且已领取老农保养老金的城乡居民基本养老保险参保人,其老农保养老金和城乡居民基本养老保险基础养老金





