首页 > 百科 > 地方特产

台州城乡居民养老保险转移流程 台州城乡居民养老保险转移流程是什么

来源: 更新时间:2022-09-26 02:57:55
The Beginning

  台州城乡居民养老保险转移流程 TwS育儿早教网

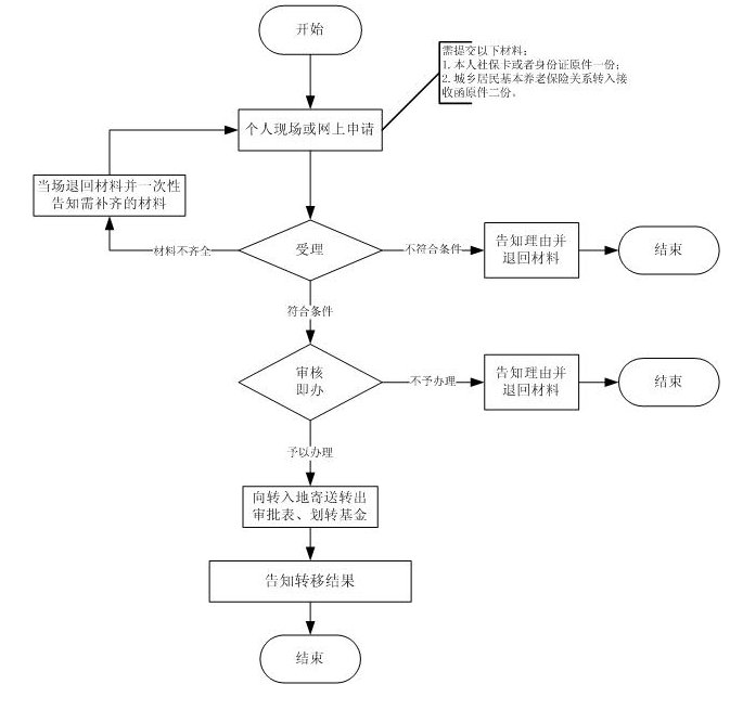
  1、收件:申请人向窗口提交申请材料或在浙江政务服务网进行网上申报工作人员收下材料或者获取政务服务网申报数据。TwS育儿早教网

  2、受理:符合条件的予以录入受理。TwS育儿早教网

  3、审核:符合条件的做出审核决定。TwS育儿早教网

  4、办结:对材料进行归档处理。TwS育儿早教网

  5、送达:根据告知渠道对审核决定内容进行告知或送达。TwS育儿早教网

  查看流程图: TwS育儿早教网

   TwS育儿早教网

  收费标准:免费 TwS育儿早教网

  》》》点击查看台州城乡居民养老保险关系转移办理指南TwS育儿早教网
TwS育儿早教网

THE END

TAG:台州  养老保险  服务网  符合条件  政务  

猜你喜欢

相关文章