茂名高技能人才引进办理指南
办理条件
用人单位引进高技能人才,应在引进单位就业并连续缴纳社会保险6个月以上,并符合以下条件之一:
(一)具有高级技师职业资格,年龄在45周岁以下;
(二)具有技师职业资格,年龄在40周岁以下;
(三)具有中等职业教育以上学历或普通高中(含)以上学历,并具有高级职业资格、所从事的工种(岗位)符合广州市紧缺工种(职业)目录,在驻穗用人单位连续就业和缴纳社会保险满2年,年龄在35周岁以下。(广州市紧缺工种(职业)目录以最新发布为准)
办理流程
网上办理流程:
第一步:申请单位按规定提交申请;点击进入网办地址
第二步:现场查验资料确定是否予以受理(材料不全或不准确的告知补充材料);
第三步:审核。对材料进行全面审核和查验(不合格的退件);
第四步:核准。申请单位领取资料,告知和指导办理相关事项;
第五步:办结。
窗口办理流程:
第一步:申请,提交申报材料(办事指南规定的法定工作时间即办)。
》》办公时间:法定工作日8:30-12:00;14:30-17:30
第二步:受理,收取申报材料(办事指南规定的法定工作时间即办)。
》》办公时间:法定工作日8:30-12:00;14:30-17:30
第三步:审核,审核材料。
第四步:核准。第五步:制证发证,制作相关材料并发放。
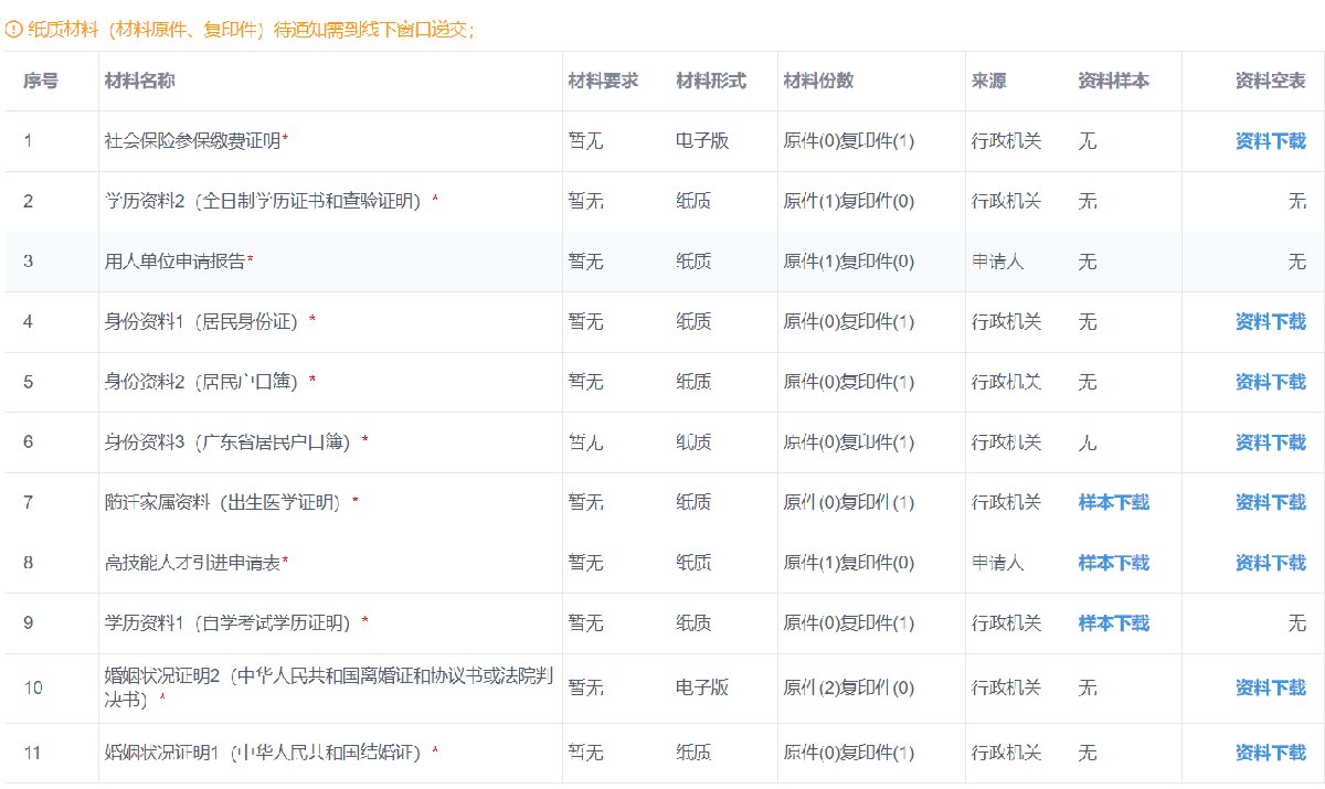
申请材料
2、用人单位申请报告
3、居民身份证
4、自学考试学历证明
5、结婚证
6、出生医学证明
7、社会保险参保缴费证明
8、全日制学历证书和查验证明
9、居民户口簿
10、广东省居民户口簿
》》点击网页查看更多
窗口办理地址
电白区公共服务中心综合窗口
办理地点:茂名市电白区水东镇迎宾大道138号行政服务中心六楼14号窗口
办公电话:0668-5219732
办公时间:法定工作日8:30-12:00;14:30-17:30
位置指引:途经的公交线路:2路、7路、313路公共汽车至行政服务中心公交站。
收费项目信息:不收费




