2021江门毕业生住房和生活补贴网上怎么申请?
申请流程
1、申请人所在用人单位或申请人登录江门市人才安居乐业生态园信息系统(地址:https://rsfw.jiangmen.cn/rcajly/website/)(使用IE 浏览器8.0 及以上版本,建议使用谷歌浏览器)
2、搜索“江门市硕士和本科毕业生住房和生活补贴”事项,点击“在线申办”
3、填写申报信息,点击下一步
4、填写具体信息,选择送报单位或部门,点击下一步
5、按照要求打印申请表
说明 :进入到上传附件的页面后,前面填写的信息已经保存在草稿箱中,申请人可以在系统“用户中心”的“草稿箱”中查看暂存的申请事项。
申请人将打印出来的申报表格和其他申报材料送用人单位审核,用人单位审批后,申请人再次登陆系统进入到用户中心的草稿箱中,点击继续申报。
进入到申报系统的上传附件页面,将已完成单位审核的申请材料转换成电子材料上传到系统。
说明:申请人曾经上传过的材料可以在“共享上传”中查找,点击“使用”即可完成材料上传。申请人上传的材料必须为申请材料原件扫描件或图片。
6、上传完毕,点击“提交”完成事项申请
(二)查看已申请的事项
1、 点击“我的事项”或者“用户中心”
2、点击“办理中”可查看办理结果
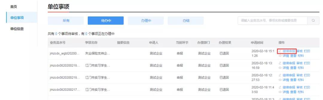
(三)事项退回处理
点击“继续申报”,可修改资料信息,或提交、补交、更换申请材料
(四)查询申请结果
点击“办结”查询办理结果

申请条件
申请人须同时符合以下条件:
1.毕业2年内的全日制硕士和本科(含国、境外)毕业生[本地户籍申请人毕业后累计待业时间(以社会保险缴费记录为准)不超过12个月];
2.初次在我市机关事业单位、国有企业以外的单位实现就业或自主创业;
3.按规定入户江门并缴纳社会保险费。
提交材料
(一)单位就业
1.江门市硕士和本科毕业生住房和生活补贴申请表;
2.本人身份证(护照),相关学历学位鉴定或网上查询结果或认证报告;
3.劳动合同。
(二)自主创业
1.江门市硕士和本科毕业生住房和生活补贴申请表;
2.本人身份证(护照),相关学历学位鉴定或网上查询结果或认证报告;
3.创业主体为民办非企业的,须提交《民办非企业登记证书》。




