兰州永登县疫苗接种点
服务项目代码含义:
1->产科预防接种
2->免疫规划疫苗预防接种
3->青少年和成人预防接种
4->狂犬病疫苗接种
5->外伤后破伤风疫苗接种
城关镇社区卫生服务中心
接种地址:甘肃省兰州市永登县城关镇和平街107号
服务时间:周三、周五
联系电话:0931-6421368
城关镇西街社区卫生服务站
接种地址:甘肃省兰州市永登县城关镇欣德家园
服务时间:周三
联系电话:0931-6429208
永登县中医院产科门诊
接种地址:甘肃省兰州市永登县城关镇人民街430号
服务时间:每日接种
联系电话:0931-6410340
城关镇东街社区卫生服务站
接种地址:甘肃省兰州市永登县城关镇青龙路1592号
服务时间:周一 14:30-16:30、周日 9:00-11:00
联系电话:0931-6426034
永登县人民医院产科门诊
接种地址:甘肃省兰州市永登县城关镇胜利街11-16号
服务时间:每日接种
联系电话:0931-6422234
城关镇北街社区卫生服务中心
接种地址:甘肃省兰州市永登县城关镇民乐街
服务时间:每周周六接种
联系电话:6428289
城关镇南街社区卫生服务中心
接种地址:甘肃省兰州市永登县城关镇南街
服务时间:星期五全天、星期六早上半天
联系电话:0931-6425705
永登县妇幼保健所产科门诊
接种地址:甘肃省兰州市永登县城关镇玫乡路城南新区支路
服务时间:每日接种
联系电话:0391-6422209
永登县城关镇佳永小区社区卫生服务站
接种地址:甘肃省兰州市永登县城关镇新城区兴勇大厦C-11号
服务时间:每周三,周六
联系电话:0931-6509120
永登县城关镇新城区社区卫生服务中心
接种地址:甘肃省兰州市永登县城关镇玫乡路CHG-1
服务时间:星期六、星期日
联系电话:0931-6652120
南街社区卫生服务中心产科门诊
接种地址:甘肃省兰州市永登县城关镇胜利街
服务时间:每日接种
联系电话:0931-6425705
柳树镇卫生院甘肃省兰州市永登县柳树乡柳树村
服务时间:每周四
联系电话:2904182
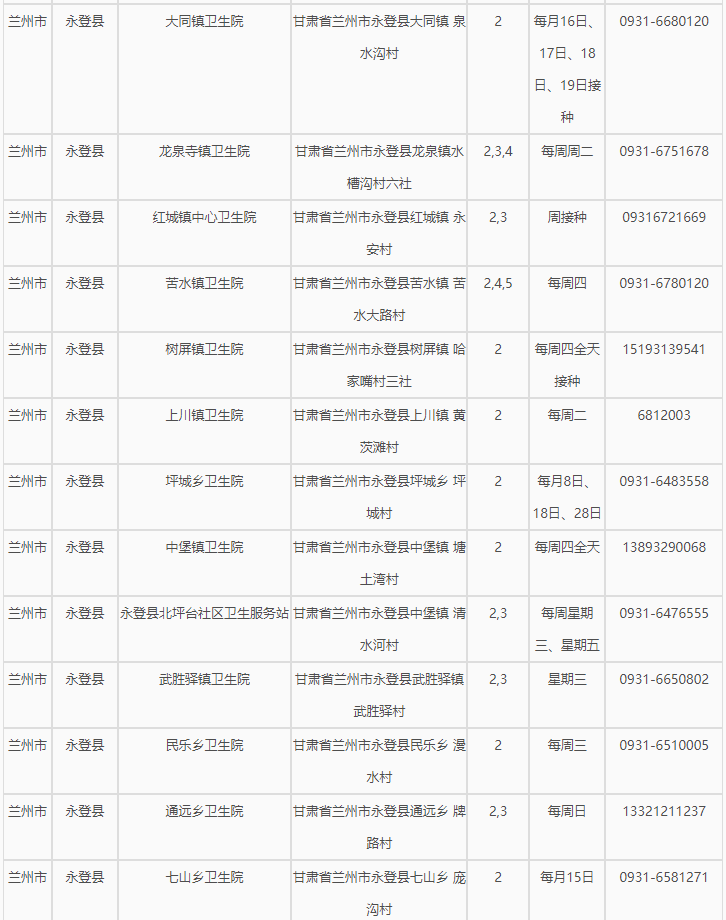
大同镇卫生院
接种地址:甘肃省兰州市永登县大同镇泉水沟村
服务时间:每月16日、17日、18日、19日接种
联系电话:0931-6680120
龙泉寺镇卫生院
甘肃省兰州市永登县龙泉镇水槽沟村六社
服务时间:每周周二
联系电话:0931-6751678
红城镇中心卫生院
甘肃省兰州市永登县红城镇永安村
服务时间:每周接种
联系电话:09316721669
苦水镇卫生院
甘肃省兰州市永登县苦水镇苦水大路村
服务时间:每周四
联系电话:0931-6780120
树屏镇卫生院
甘肃省兰州市永登县树屏镇哈家嘴村三社
服务时间:每周四全天接种
联系电话:15193139541
上川镇卫生院
接种地址:甘肃省兰州市永登县上川镇黄茨滩村
服务时间:每周二
联系电话:6812003
坪城乡卫生院
接种地址:甘肃省兰州市永登县坪城乡坪城村
服务时间:每月8日、18日、28日
联系电话:0931-6483558
中堡镇卫生院
接种地址:甘肃省兰州市永登县中堡镇塘土湾村
服务时间:每周四全天
联系电话:13893290068
永登县北坪台社区卫生服务站
接种地址:甘肃省兰州市永登县中堡镇清水河村
服务时间:每周星期三、星期五
联系电话:0931-6476555
武胜驿镇卫生院
接种地址:甘肃省兰州市永登县武胜驿镇武胜驿村
服务时间:星期三
联系电话:0931-6650802
民乐乡卫生院
接种地址:甘肃省兰州市永登县民乐乡漫水村
服务时间:每周三
联系电话:0931-6510005
通远乡卫生院
接种地址:甘肃省兰州市永登县通远乡牌路村
服务时间:每周日
联系电话:13321211237
七山乡卫生院
接种地址:甘肃省兰州市永登县七山乡庞沟村
服务时间:每月15日
联系电话:0931-6581271
河桥镇中心卫生院
接种地址:甘肃省兰州市永登县河桥镇马莲滩村
服务时间:每周四五接种
联系电话:0931-6440262
连铝社区卫生服务站
接种地址:甘肃省兰州市永登县河桥镇建设坪
服务时间:每周星期四接种
联系电话:0931-6438678
南关社区卫生服务中心
接种地址:甘肃省兰州市永登县河桥镇南关村
服务时间:每周四
联系电话:09316433958
兰州市永登县连城镇卫生院
接种地址:甘肃省兰州市永登县连城镇连城村
服务时间:每周四
联系电话:0931-6530157
铁家台社区卫生服务站
接种地址:甘肃省兰州市永登县连城镇铁家台福利区
服务时间:每周四全天
联系电话:0931-6908397




