厦门社保卡个人办理流程
一、办理条件
(一)税务部门已受理参保人员的投保登记手续;
(二)投保登记手续办结后已满5个工作日。
二、办理材料
1.有效身份证件:二代居民身份证、护照、外国人永久居留证、港澳居民往来内地通行证、台湾居民往来大陆通行证、台港澳居民居住证等原件。
2.监护人可以代办、提供双方的有效证件、监护关系证明。
三、办理时间
星期一至星期五(部分网点提供周末服务)上午 9:00-12:00 ;下午13:00-17:00(法定节假日除外)
四、办理方式
1.窗口办理地址
凡是悬挂“厦门市民卡(社会保障卡)经办服务网点”标牌的银行营业网点均可办理。银行网点>>>点此查询
目前可以选择的服务银行有14家,分别为工商银行、农业银行、中国银行、建设银行、邮储银行、兴业银行、招商银行、平安银行、厦门银行、厦门农商银行、厦门国际银行、民生银行、交通银行、光大银行。
咨询电话
人力资源社会保障:12333
工商银行:95588
农业银行:95599
中国银行:95566
建设银行:95533
邮储银行:95580
兴业银行:95561
招商银行:95555
平安银行:95511
厦门银行:4008588888
农商银行:4008396336
厦门国际银行:4001623623
民生银行:95568
交通银行:95559
光大银行:95595
2.线上办理地址
办理方式:登录厦门市人力资源和社会保障局官网,进入“个人平台”-“社会保障”-“一件事套餐服务”-“申领社会保障卡”,可以同时选择需要办理的社会保障卡事项。
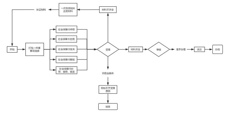
五、办理流程
六、承诺办理时限
个人申请制卡当场办结
七、领取方式
窗口领取(现场办理)、邮寄送达(线上办理)。





