首页 > 百科 > 地方特产

无业老人投靠子女落户北京条件一览

来源: 更新时间:2022-04-02 18:09:04
The Beginning

  ➤北京无业老人投靠子女落户条件Yrm育儿早教网

  1、申请人男性年满60周岁,女性年满55周岁(夫妻双方同时申请);Yrm育儿早教网

  2、申请人外省、市(县)无子女;Yrm育儿早教网

  3、被投靠人为本市非农业户口。Yrm育儿早教网

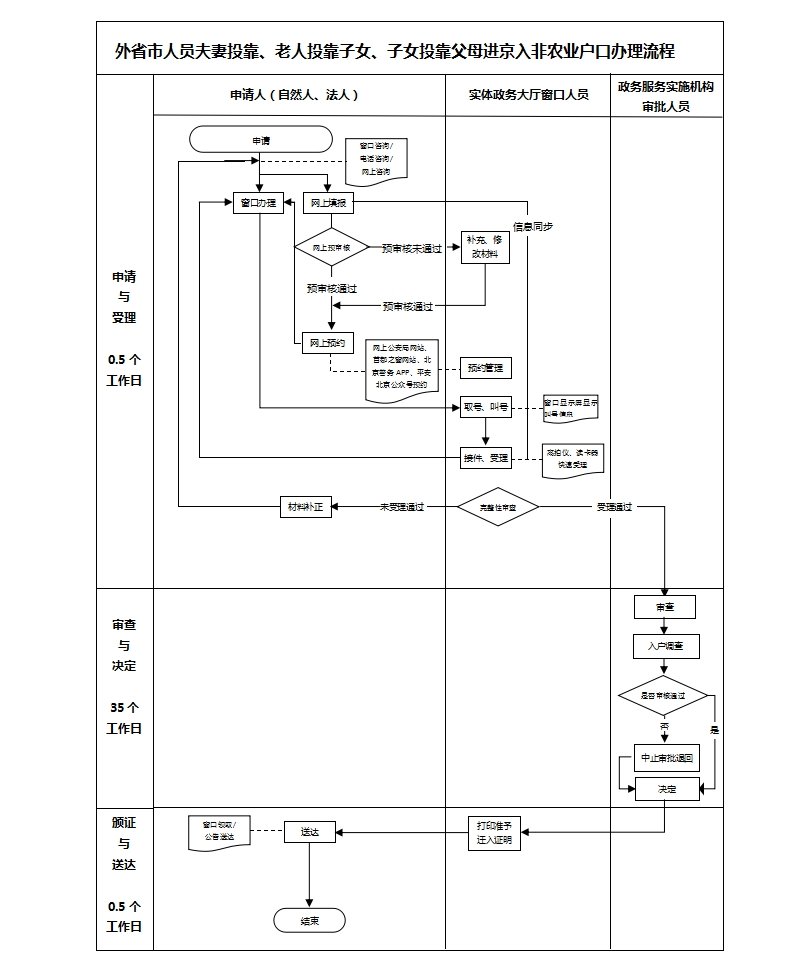
  ➤北京老人投靠子女落户流程Yrm育儿早教网

  图源为:北京市人民政府Yrm育儿早教网

  》》

THE END

TAG:子女  申请人  北京  老人  北京市  

猜你喜欢

相关文章