首页 > 百科 > 地方特产

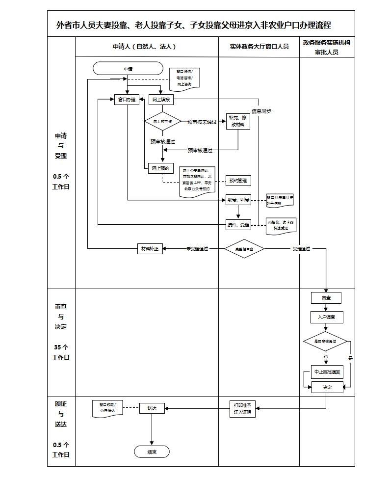
北京子女投靠父母审批需要几天

来源: 更新时间:2022-04-02 18:06:32
The Beginning

  北京子女投靠父母审批时间 eFA育儿早教网

  图源为:北京市人民政府eFA育儿早教网

  ➤子女投靠父母受理条件 eFA育儿早教网

  1、申请人为未满18周岁的未成年人,且符合本市计划生育政策;eFA育儿早教网

  2、申请人已经在外地随父或母入户;eFA育儿早教网

  3、父、母一方为本市非农业户口;eFA育儿早教网

  4、父、母一方再婚后户口进京、更改子女抚养关系后要求投靠入户的,改判子女抚养关系需满2年以上(更改抚养关系时间以公证书或法院判决书时间为准)。eFA育儿早教网

  》》

THE END

TAG:子女  关系  时间  父母  公证书  

猜你喜欢

相关文章