The Beginning
一、受理单位:
参保地医疗保障经办服务机构(以下简称“医保经办机构”)
二、服务对象:
符合规定申请生育待遇的参保人员。
三、办理材料:
1.医保电子凭证或有效身份证件或社保卡;
2.医院收费票据;
3.费用清单;
4.病历资料(出院记录或诊断证明)。
如无法通过其他部门数据共享获得出生医学证明等,由办理人提供,无法提供的,需提供个人承诺书。
识别二维码下载承诺书
四、办理时限:
不超过20个工作日。
五、办理渠道:
现场办理:参保地医保经办机构服务大厅
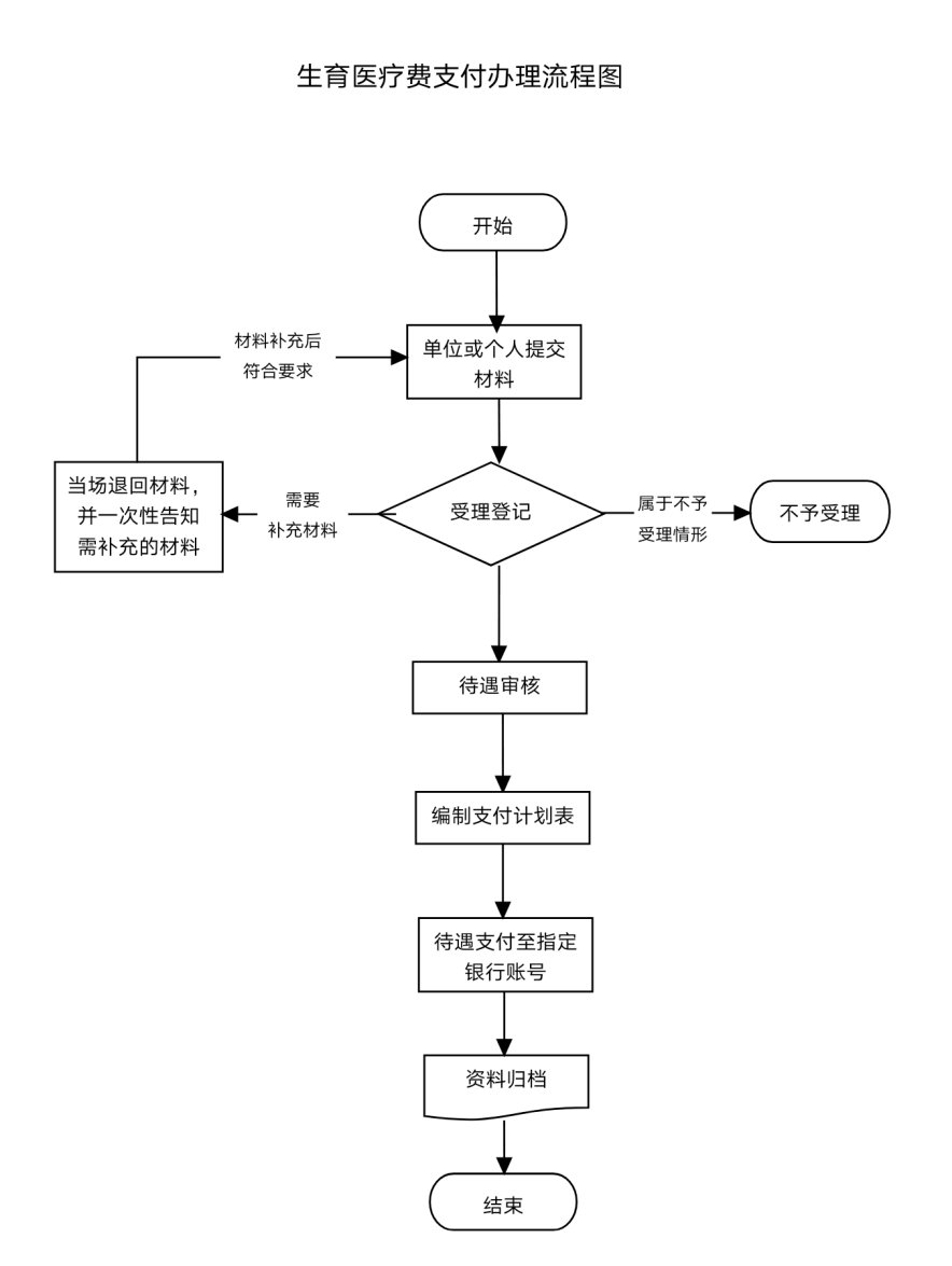
六、办理流程:
1、参保单位或参保人员持办理材料向医保经办机构申请;
2、医保经办机构受理审核。
3、符合规定的,办理报销支付手续。
THE END




