The Beginning
西安居住证丢了怎么补办
一、办理条件:
居住证丢失的,居住证持有人应当及时向居住地公安派出所或者受公安机关委托的社区服务机构申请补领。
二、申请材料:
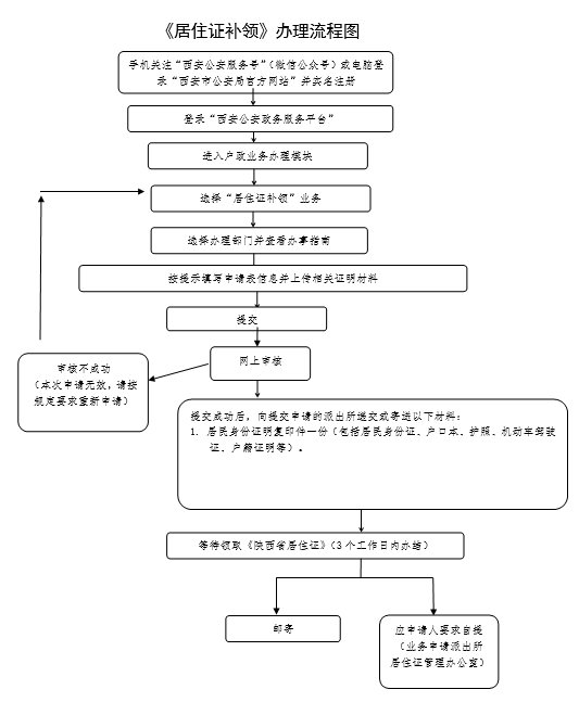
居民身份证明复印件一份 居民身份证明,包括居民身份证、户口本、护照、机动车驾驶证、户籍证明等。
三、承诺时限:
3个工作日
四、办理流程:
具体补换领流程可点此查看:
1.受理阶段责任:在办公场所公示依法应当提交的材料;一次性告知补正材料;依法受理或不予受理(不予受理应当告知理由).
2.审查阶段责任:材料审核;提出审核意见。
3.决定阶段责任:作出决定;按时办结。
THE END




