首页 > 百科 > 地方特产

西安居住证补办办理条件

来源: 更新时间:2022-03-28 15:07:44
The Beginning

  西安居住证补办办理条件 Hqw育儿早教网

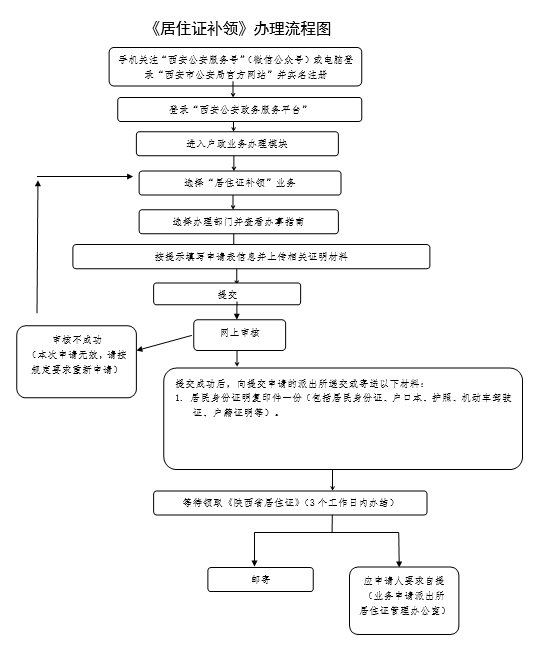
  居住证丢失的,居住证持有人应当及时向居住地公安派出所或者受公安机关委托的社区服务机构申请补领。Hqw育儿早教网

  一、申请材料Hqw育儿早教网

  居民身份证明复印件一份 居民身份证明,包括居民身份证、户口本、护照、机动车驾驶证、户籍证明等。Hqw育儿早教网

  二、办理时限: Hqw育儿早教网

  法定周期3个工作日。Hqw育儿早教网

  三、换领流程: Hqw育儿早教网

   Hqw育儿早教网

  各区县咨询电话可点此查看Hqw育儿早教网

  具体补换领流程可点此查看Hqw育儿早教网

THE END

TAG:居住证  点此查看  身份证明  居民  流程  

猜你喜欢

相关文章