The Beginning
南阳居民同台湾居民在南阳离婚登记办理指南
一、受理部门
南阳市民政局
二、承诺办理时限
1个工作日
三、是否收费
否
四、办理时间
周一至周五, 法定节假日除外 。 夏季:上午09:00-12:00 下午 13:00-17:00; 冬季:上午09:00-12:00 下午 13:00-17:00。
五、受理条件
1、婚姻登记处具有管辖权;
2、离婚的夫妻双方共同到婚姻登记处提出申请;
3、双方均具有完全民事行为能力;
4、当事人持有离婚协议书,协议书中载明双方自愿离婚的意思表示以及对子女抚养、财产及债务处理等事项协商一致的意见;
5、当事人持有内地婚姻登记机关或者中国驻外使(领)馆颁发的结婚证;
6、当事人各提交2张2寸单人近期半身免冠照片;
7、内地居民应当提交本人有效的居民身份证和户口簿;
8、台湾居民来往大陆通行证或者其他有效旅行证件、本人在台湾地区居住的有效身份证。
六、所需材料
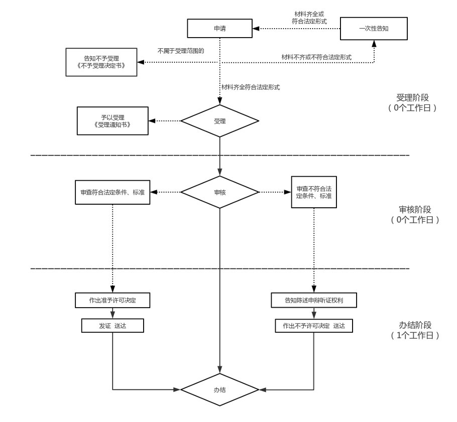
七、办理流程
THE END




