The Beginning
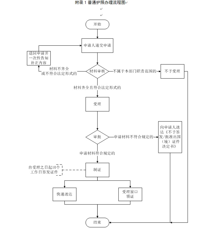
护照申请基本流程:
申请:申请人递交申请。
受理:(对符合申请条件,申请材料齐全且符合法定形式的,当场予以受理,并向申请人出具《受理申请回执单》;对申请材料不齐全或者不符合法定形式的,一次性告知申请人需要补正的全部内容;对不属于本部门职责范围或不符合受理要求的,不予受理,并向申请人说明理由)。
审批:(申请材料符合规定的,作出批准签发普通护照决定,并将相关数据推送制证部门;申请材料不符合规定的,作出不予批准签发普通护照决定,制作《不予批准签发出入境证件决定书》送达申请人)。
制证:(制作《中华人民共和国护照》)。
护照申请基本流程图:




