The Beginning
所需材料:
登记申请书、发票原件、契证存根原件、商品房合同原件、商品房合同备案证明原件、申请人合法有效的身份证明复印件(核对原件)、申请人合法有效的户籍证明复印件(核对原件)、询问笔录、有委托的需提供委托公证书、房地产抵押合同原件、借款合同原件、银行营业执照(法人资格证书)加盖公章、银行授权委托书原件、受托人身份证复印件(核对原件),必要时,还需提交与申请事项相关的技术资料和其他材料。
受理条件:
2011年4月25日之后签定的商品房合同,外地人需提供限购资料。
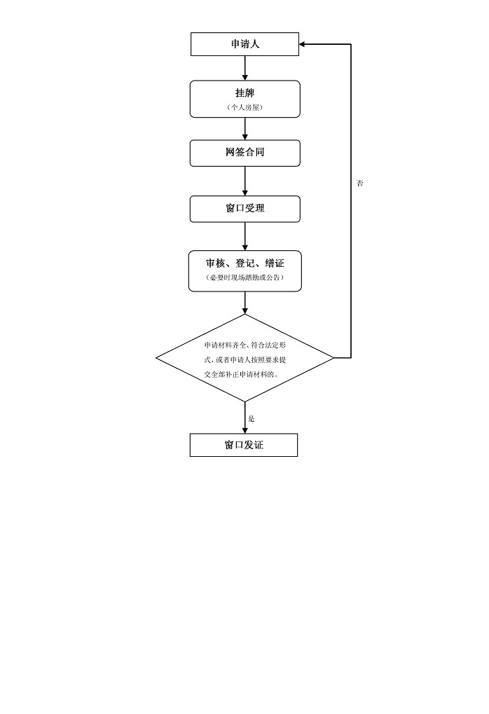
办理程序:
窗口受理---审核---(必要时现场踏勘及公告)---记载于房屋登记簿---缮证---窗口发证
法定时限:30个工作日,承诺时限:6个工作日
办理机构
绍兴市房地产管理处
受理范围个人
咨询电话联系人:王晓雪 联系电话:85039221。
监督投诉电话:0575-85139233。
受理接待时间
周一到周五
上午8:30-12:00,下午14:00-17:00
受理地点信息
绍兴市行政服务中心住房建设窗口(惠利街20号)
THE END




