首页 > 百科 > 地方特产

天津社保补缴单位应收核定单位征集核定单打印流程

来源: 更新时间:2022-10-11 17:13:41
The Beginning

  》》》天津社保补缴单位应收核定单位征集核定单打印流程 uXr育儿早教网

  【办理入口】 uXr育儿早教网

  天津市人社局网上办事大厅 uXr育儿早教网

  【业务功能】 uXr育儿早教网

  单位用户可在此模块办理完成当月应收核定后,查询单位核定明细信息,供单位参考,不作为税务申报缴费用途。uXr育儿早教网

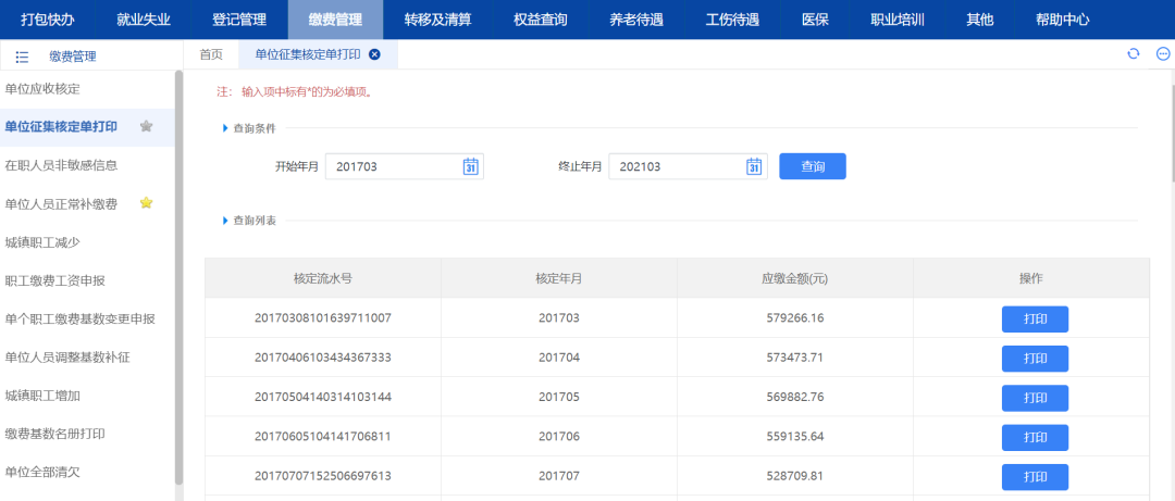
  【界面图示】 uXr育儿早教网

   uXr育儿早教网

  【操作描述】 uXr育儿早教网

  1、点击“缴费管理”-“单位征集核定单打印”。uXr育儿早教网

  2、输入开始年月、终止年月,点击“查询”,查询出核定记录。uXr育儿早教网

  3、选择一条核定记录,点击“打印”,可以打印《征集核定单》。uXr育儿早教网

THE END

TAG:单位  天津  年月  可在  当月  

猜你喜欢

相关文章