汨罗市创业担保贷款申请
办理地点:云溪区各镇村便民服务中心
办理时间:工作日:8:00-12:00;14:30-17:30(夏季15:00-18:00)
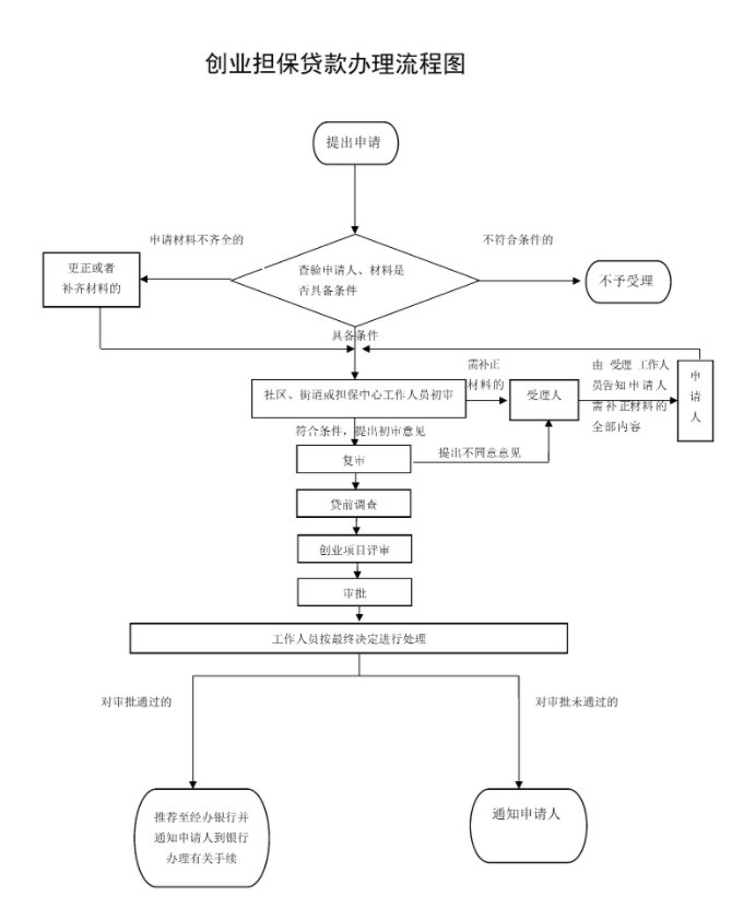
办结时限:10个工作日
咨询电话:0730-3065099
申请对象及条件:
(一)在法定劳动年龄以内,具备一定创业能力和具有创业愿望,个人信用记录良好,符合下列条件之一,自主创业、合伙创业或组织起来共同创业的,自筹资金不足的部分,可申请个人创业担保贷款:
1.城镇登记失业人员。
2.就业困难人员(含残疾人)。
3.复员转业退役军人。
4.刑满释放人员。
5.高校毕业生(含大学生村官和留学回国学生),即毕业5年以内的普通高校毕业生、技师学院高级工班和预备技师班、特殊教育院校(含中等职业学校)毕业生、留学回国学生和服务期满5年以内的大学生村官。
6.化解过剩产能企业职工和失业人员。
7.返乡创业农民工。
8.网络商户,即经省内工商部门登记注册,稳定经营6个月以上、信誉良好、平均月营业额达到3000元(含)以上的电商。未经工商部门登记注册的除满足以上条件外,还应在电子商务第三方平台上实名注册,且申请时已在省内进行就业失业登记。
9.建档立卡贫困人口。
10.农村自主创业农民。 合伙创业是指符合上述条件的人员以合伙经营的形式创办的小企业或组织,并持《合伙企业营业执照》或在工商部门进行备案。组织起来共同创业是指符合上述条件人员的组织者组织符合上述条件人员就业,并签订1年以上的劳动合同,且组织就业人数不低于职工总人数50%的经济实体,其中组织者必须为组织起来共同创业经济实体的企业法人代表。 除助学贷款、扶贫贷款、住房贷款、购车贷款、5万元以下小额消费贷款(含信用卡消费)以外,个人创业担保贷款申请人及其家庭成员(以户为单位)提交创业担保贷款申请时,应没有其他贷款记录。合伙创业的法定代表人或负责人以及组织起来共同创业的组织者应满足以上贷款记录要求。
(二)小微企业当年新招用符合创业担保贷款申请条件的人员数量达到企业现有在职职工人数20%(超过100人的企业达到10%),并与其签订1年以上劳动合同的,可申请小微企业创业担保贷款。小微企业应无拖欠职工工资、欠缴社会保险费等严重违法违规信用记录。小微企业认定标准按照《统计上大中小微企业划分办法(2017)》(国统字〔2017〕213号)执行。
所需材料:





