首页
>
百科
>
地方特产
华容县哪些派出所能办理指纹补采 华容县哪些派出所能办理指纹补采业务
来源:
更新时间:2022-10-02 10:34:10
The Beginning
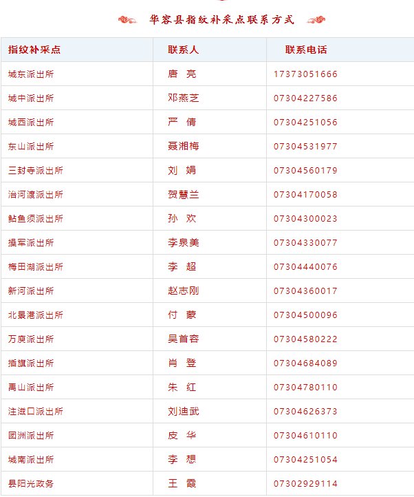
华容县指纹补采派出所
77F育儿早教网
77F育儿早教网
THE END
TAG:
华容县
指纹
派出所
HTTP
style
猜你喜欢
翡翠玉坠a货什么意思 翡翠(A货吊坠
2022-07-01
中山毕业生就业补贴申请指南(中山就业补贴怎么申请)
2022-11-08
翡翠原石皮(翡翠原石皮壳大全)
2022-07-18
烟台2018年企业工资指导线是多少 烟台市2018年平均工资标准是多少
2022-10-24
东营如何开通社保卡?(东营社保卡怎么注销)
2022-10-14
相关文章
华容县身份证全程网上补办指南 华容县身份证全程网上
岳阳的身份证可以在外省办指纹补采吗?
华容县春节身份证指纹补采指南
华容县电动车上牌网上办理操作流程 华容县电动车上牌
华容县电动车上牌要多少钱? 华容县电动车上牌地址
华容县户口能在岳阳楼区领证吗 华容户口可在岳阳办离
华容县驾照换证体检医院名单(成都华阳驾照更换体检医院
华为手机指纹突然不能用了 华为手机指纹突然不能用了
华容新农合居民医保网上怎么缴费(华容县新农合咨询电话
华容县健康证怎么办 华容县疾控中心健康证