首页 > 百科 > 地方特产

2020宁波鄞州两直补助申请方式+申请时间+受理点一览

来源: 更新时间:2022-09-24 08:29:01
The Beginning

  2020宁波鄞州两直补助申请方式+申请时间+受理点一览 dMO育儿早教网

  申报时间 dMO育儿早教网

  即日起至7月24日24时dMO育儿早教网

  申报流程 dMO育儿早教网

  符合条件的小微企业和个体工商户通过线下申报的方式,到属地镇街服务中心或辖区市场监管所(联系方式详见附件),进行自主申报,随带相关资料(如营业执照、身份证原件、公章等)。dMO育儿早教网

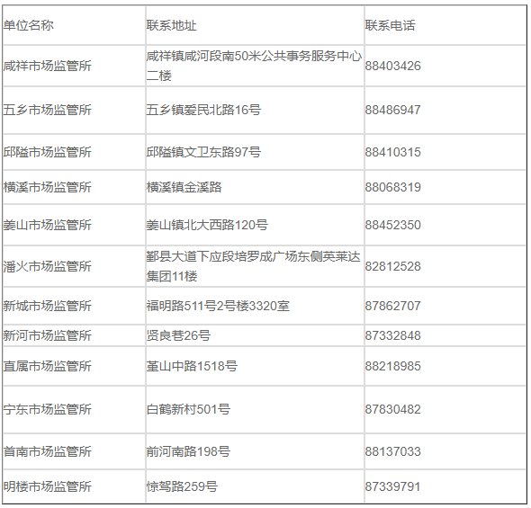
  鄞州区自主申报联系方式 dMO育儿早教网

  1、鄞州区各市场监管所联系方式 dMO育儿早教网

   dMO育儿早教网

  2、各镇街联系方式 dMO育儿早教网

   dMO育儿早教网

THE END

TAG:联系方式  自主  鄞州区  方式  时间  

猜你喜欢

相关文章